Services
联系方式Contact us

全国服务热线:15530796367
Q Q:583883685
邮 箱:1340821763@qq.com
联系人:张经理
网 址:lyjxgl.com
地 址:河北省沧州市泊头市
开发区
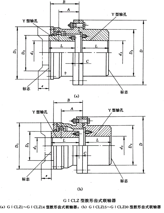
GICLZ型鼓型齿式联轴器型号规格
品 牌:星空体育
GICLZ型鼓型齿式联轴器JB/T8854.3-99具体型号GICLZ1、GICLZ2、GICLZ3、GICLZ4、GICLZ5、GICLZ6、GICLZ7、 ···...
订购热线:155-30796-367
GICLZ型鼓型齿式联轴器JB/T8854.3-99具体型号
GICLZ1、GICLZ2、GICLZ3、GICLZ4、GICLZ5、GICLZ6、GICLZ7、 GICLZ8、GICLZ9、GICLZ10、GICLZ11、GICLZ12、GICLZ13、GICLZ14、GICLZ15、GICLZ16、GICLZ17 GICLZ18、 GICLZ19、 GICLZ20、GICLZ21、GICLZ22、GICLZ23、GICLZ24、GICLZ25、GICLZ26、GICLZ27、GICLZ28、GICLZ29、GICLZ30
GⅠCLZ型鼓形齿式联轴器基本参数和主要尺寸(JB/T8854.3-99)/mm
型号 | 公称转矩Tn /N·m | 许用转速 [n]/r·min-1 | 轴孔直径 d1、d2 | 轴孔长度L | D | D1 | D2 | D3 | B | A | C | e | 润滑脂 用量 /mL | 质量 m/kg | 转动惯量 I/kg·m2 |
Y | |||||||||||||||
GⅠCLZ1 | 630 | 4000 | 16、18、19 | 42 | 125 | 95 | 60 | 80 | 57 | 37 | 20 | 30 | 30 | 5.4 | 0.0084 |
| 20、22、24 | 52 | 10 | |||||||||||||
| 25、28 | 62 | 2.5 | |||||||||||||
| 30、32、35、38 | 82 | ||||||||||||||
| 40*、42*、45*、48*、50* | 112 | ||||||||||||||
GⅠCLZ2 | 1120 | 4000 | 25、28 | 62 | 144 | 120 | 75 | 95 | 67 | 44 | 10.5 | 30 | 60 | 9.2 | 0.018 |
| 30、32、35、38 | 82 | 2.5 | |||||||||||||
| 40*、42*、45*、48*、50*、55*、56* | 112 | ||||||||||||||
| 60* | 142 | ||||||||||||||
GⅠCLZ3 | 2240 | 4000 | 30、32、35、38 | 82 | 174 | 140 | 95 | 115 | 77 | 53 | 3 | 30 | 80 | 16.4 | 0.0427 |
| 40、42、45、48、50、55、56 | 112 | ||||||||||||||
| 60、63*、65*、70*、 | 142 | ||||||||||||||
GⅠCLZ4 | 3550 | 3600 | 32、35、38 | 82 | 196 | 165 | 115 | 130 | 89 | 62 | 14 | 30 | 90 | 22.7 | 0.076 |
| 40、42、45、48、50、55、56 | 112 | 3 | |||||||||||||
| 60、63、65、70、71*、75* | 142 | ||||||||||||||
| 80* | 172 | ||||||||||||||
GⅠCLZ5 | 5000 | 3300 | 40、42、45、48、50、55、56 | 112 | 224 | 183 | 130 | 150 | 99 | 71 | 3 | 30 | 140 | 36.2 | 0.0149 |
| 60、63、65、70、71、75 | 142 | ||||||||||||||
| 80、85*、90* | 172 | ||||||||||||||
GⅠCLZ6 | 7100 | 3000 | 48、50、55、56 | 112 | 241 | 200 | 145 | 170 | 109 | 80 | 6 | 30 | 200 | 46.2 | 0.24 |
| 60、63、65、70、71、75 | 142 | 4 | |||||||||||||
| 80、85、90、95* | 172 | ||||||||||||||
| 100* | 212 | ||||||||||||||
GⅠCLZ7 | 10000 | 2680 | 60、63、65、70、71、75 | 142 | 260 | 230 | 160 | 190 | 122 | 90 | 4 | 30 | 290 | 68.4 | 0.43 |
| 80、85、90、95 | 172 | ||||||||||||||
| 100、110*、120* | 212 | ||||||||||||||
GⅠCLZ8 | 14000 | 2500 | 65、70、71、75 | 142 | 282 | 245 | 175 | 210 | 132 | 96 | 5 | 30 | 350 | 81.1 | 0.61 |
| 80、85、90、95 | 172 | ||||||||||||||
| 100、110、120* | 212 | ||||||||||||||
| 130* | 252 | ||||||||||||||
GⅠCLZ9 | 18000 | 2350 | 70、71、75 | 142 | 314 | 270 | 200 | 225 | 142 | 104 | 10 | 30 | 370 | 100.1 | 0.94 |
| 80、85、90、95 | 172 | 5 | |||||||||||||
| 100、110、120、125 | 212 | ||||||||||||||
| 130*、140* | 252 | ||||||||||||||
GⅠCLZ10 | 31500 | 2150 | 80、85、90、95 | 172 | 346 | 300 | 220 | 250 | 165 | 124 | 5 | 30 | 500 | 147.1 | 1.67 |
| 100、110、120、125 | 212 | ||||||||||||||
| 130、140、150* | 252 | ||||||||||||||
| 160* | 302 | ||||||||||||||
GⅠCLZ11 | 40000 | 1880 | 100、110、120 | 212 | 380 | 330 | 260 | 285 | 180 | 133 | 6 | 40 | 650 | 206.3 | 2.98 |
| 130、140、150 | 252 | ||||||||||||||
| 160、170*、180* | 302 | ||||||||||||||
GⅠCLZ12 | 56000 | 1680 | 120 | 212 | 442 | 380 | 290 | 325 | 208 | 156 | 6 | 40 | 1100 | 284.5 | 5.31 |
| 130、140、150 | 252 | ||||||||||||||
| 160、170、180 | 302 | ||||||||||||||
| 190*、200* | 352 | ||||||||||||||
GⅠCLZ13 | 80000 | 1530 | 140、150 | 252 | 482 | 420 | 320 | 360 | 238 | 182 | 7 | 40 | 1600 | 402 | 9.16 |
| 160、170、180 | 302 | ||||||||||||||
| 190、200、220* | 352 | ||||||||||||||
GⅠCLZ14 | 112000 | 1300 | 160、170、180 | 302 | 520 | 465 | 360 | 410 | 266 | 207 | 8 | 40 | 2300 | 582.2 | 15.92 |
| 190、200、220 | 352 | ||||||||||||||
| 240*、250* | 410 | ||||||||||||||
GⅠCLZ15 | 160000 | 1180 | 190、200、220 | 352 | 580 | 510 | 400 | 450 | 278 | 214 | 10 | 40 | 2600 | 778.2 | 25.79 |
| 240、250、260* | 410 | ||||||||||||||
| 280* | 470 | ||||||||||||||
GⅠCLZ16 | 250000 | 1000 | 200、220 | 352 | 680 | 595 | 465 | 500 | 320 | 250 | 10 | 50 | 4100 | 1071 | 46.89 |
| 240、250、260 | 410 | ||||||||||||||
| 280、300*、320* | 470 | ||||||||||||||
GⅠCLZ17 | 280000 | 980 | 220 | 352 | 720 | 645 | 495 | 530 | 336 | 256 | 10 | 50 | 5100 | 1210 | 60.59 |
| 240、250、260 | 410 | ||||||||||||||
| 280、300、320* | 470 | ||||||||||||||
GⅠCLZ18 | 355000 | 900 | 240、250、260 | 410 | 775 | 675 | 520 | 540 | 351 | 262 | 10 | 50 | 6000 | 1475 | 81.75 |
| 280、300、320 | 470 | ||||||||||||||
| 340* | 550 | ||||||||||||||
GⅠCLZ19 | 450000 | 830 | 260 | 410 | 815 | 715 | 560 | 580 | 372 | 280 | 10 | 50 | 6700 | 1603 | 101.57 |
| 280、300、320 | 470 | ||||||||||||||
| 340、360* | 550 | ||||||||||||||
GⅠCLZ20 | 500000 | 790 | 280、300、320 | 470 | 855 | 755 | 585 | 600 | 393 | 297 | 13 | 50 | 8100 | 2033 | 140.03 |
| 340、360、380* | 550 | ||||||||||||||
GⅠCLZ21 | 630000 | 750 | 300、320 | 470 | 915 | 795 | 620 | 640 | 404 | 305 | 13 | 50 | 10500 | 2385 | 183.4 |
| 340、360、380 | 550 | ||||||||||||||
| 400* | 650 | ||||||||||||||
GⅠCLZ22 | 710000 | 720 | 340、360、380 | 550 | 960 | 840 | 665 | 680 | 415 | 316 | 13 | 60 | 14000 | 2458 | 235.04 |
| 400、420* | 650 | ||||||||||||||
GⅠCLZ23 | 800000 | 680 | 360、380 | 550 | 1010 | 890 | 710 | 720 | 435 | 333 | 13 | 60 | 15000 | 3332 | 323.16 |
| 400、420、450 | 650 | ||||||||||||||
GⅠCLZ24 | 1000000 | 650 | 380 | 550 | 1050 | 925 | 730 | 760 | 445 | 342 | 15 | 60 | 16500 | 3639 | 389.97 |
| 400、420、450、480* | 650 | ||||||||||||||
GⅠCLZ25 | 1120000 | 610 | 400、420、450、480、500* | 650 | 1120 | 970 | 770 | 800 | 465 | 362 | 15 | 60 | 18000 | 4073 | 485.96 |
GⅠCLZ26 | 1250000 | 580 | 420、450、480、500 | 650 | 1160 | 990 | 800 | 850 | 475 | 366 | 15 | 60 | 19000 | 4527 | 573.64 |
| 530* | 800 | ||||||||||||||
GⅠCLZ27 | 1400000 | 560 | 450、480、500 | 650 | 1210 | 1060 | 850 | 900 | 479 | 369 | 15 | 70 | 23000 | 5485 | 789.74 |
| 530、560* | 800 | ||||||||||||||
GⅠCLZ28 | 1600000 | 540 | 480、500 | 650 | 1250 | 1080 | 890 | 960 | 517 | 402 | 20 | 70 | 24000 | 6050 | 960.26 |
| 530、560、600* | 800 | ||||||||||||||
GⅠCLZ29 | 2240000 | 520 | 500 | 650 | 1340 | 1200 | 960 | 1010 | 517 | 396 | 20 | 80 | 26000 | 7090 | 1268.98 |
| 530、560、600、630* | 800 | ||||||||||||||
GⅠCLZ30 | 2800000 | 500 | 560、600、630 | 800 | 1390 | 1240 | 1005 | 1070 | 525 | 403 | 20 | 80 | 30000 | 9264 | 1822.02 |
| 670* | 900 |
注:1.联轴器质量和转动惯量是按各型号中最小轴孔直径和最大轴孔长度计算的近似值。
2.D2≥465mm,其O形圈采用圆形断面橡皮条粘结而成。
3.表中标有“*”号的轴孔尺寸只适于dZ选用。
上一篇:GICL型鼓型齿式联轴器规格图纸
下一篇:GIICL型鼓型齿式联轴器图纸







